网站首页/win7系统列表/内容

修好电脑公司Windows7旗舰版系统漏洞的技巧

win7系统2024-05-30阅读
Windows 7,中文名称视窗7,是由微软公司(Microsoft)开发的操作系统,内核版本号为Windows NT 6.1。Windows 7可供家庭及商业工作环境:笔记本电脑 、平板电脑 、多媒体中心等使用。Windows 7可供选择的版本有:入门版(Starter)、家庭普通版(Home Basic)、家庭高级版(Home Premium)、专业版(Professional)、企业版(Enterprise)(非零售)、旗舰版(Ultimate)。
       黑客通常是通过网络将木马、病毒等植入电脑,进行攻击或控制整个电脑,当电脑没有及时地进行修复,就会对电脑造成很大的威胁,为了系统的安全,应修复系统漏洞,现小编介绍修复电脑公司Windows7旗舰版系统漏洞的技巧,具体如下:
1、点击“开始——控制面板——系统和安全”。
2、点击打开进入到Windows 防火墙页面,帮助我们提高电脑安全系数。
3、在Windows 防火墙页面中进行防护;
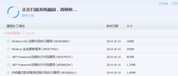
4、如果需要修复系统漏洞,点击进入到电脑中的腾讯电脑管家的功能页面,进入工具箱,点击修复。
 
 
 
5、进入到系统漏洞的检测和修复功能页面后,可帮助用户完成系统漏洞的修复。
 
 
 
      以上就是关于修复电脑公司Windows7旗舰版系统漏洞的技巧介绍了,为了系统电脑的安全,请参照以上方法进行漏洞的修复吧。

windows 7 的设计主要围绕五个重点——针对笔记本电脑的特有设计;基于应用服务的设计;用户的个性化;视听娱乐的优化;用户易用性的新引擎。 跳跃列表,系统故障快速修复等,这些新功能令Windows 7成为最易用的Windows。

……

相关阅读